Produktový katalog
- Čerpadla motorová plovoucí, čerpadla ruční
- Ejektory,sací koše
- Hasící látky
- Hasící přístroje
- Hydranty
- Kanálový krtek
- Kužely, ruchloucpávky, kanystry
- Ochranné rukavice
- Obuv staniční, vycházková
- Požární hadice a příslušenství
- Osvětlovací stožáry
- Proudnice,klíče,přechody,spojky,víčka
- Přilby,kukly
- Přiměšovače
- Požární sport
- Rozdělovače
- Sběrače
- Skříňky s nástroji a elektronástroji
- Slavnostní a vycházkové uniformy HZS i SDH
- Svítilny s nabíječi i bez
- Turboventilátory, elektroventilátory
- Vesty
- Vlečné tyče
- Vyprošťovací a záchranná technika
- Vodní štít
- Zásahový protipožární oblek
- Žebříky,trhací háky
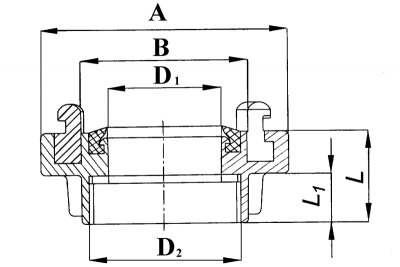
Spojky tlakové hrdlové
Kategorie:
Proudnice,klíče,přechody,spojky,víčka > Spojky > Spojky tlakové hrdlové
Popis:
pevné spojky s vnitřním připojovacím závitem, které se používají ke vzájemnému propojení závitových a bajonetových prvků požárního příslušenství k požárním hadicím nebo k požárním čerpadlům.
Materiál
hliníková slitina, položky označené * jsou z mosazi, položky označené ** jsou z nerezu.
| Objednací číslo | Typ | A [mm] |
B [mm] |
D1 [mm] |
L [mm] |
L1 [mm] |
D2 [mm] |
Max. prac. tlak [MPa] |
Hmotnost [kg] |
| 449 811 1000 | 25 | 54 | 30,5 | 17,5 | 28 | 15 | G 1“ | 0,8 | 0,07 |
| 449 811 1001 | 52 | 97 | 65 | 44,8 | 36 | 19 |
G 2“ | 1,6 | 0,26 |
| 449 811 1002 | 75 | 125 |
88 | 64,5 | 37 | 20 |
G 2,5“ | 1,6 | 0,41 |
| 449 000 1020 | 25* | 55 | 31 | 180 | 30 | 12 | G 1“ | 1,6 | 0,23 |
| 449 000 1018 | 52* | 98 | 66 |
45 | 39 | 22 |
G 2“ | 1,6 | 0,82 |
| 449 000 1017 | 52** | 98 |
66 | 45 |
39 | 22 |
G 2“ | 1,6 | 0,75 |
| 449 000 1030 | 75* | 125 | 88 | 64 | 42 | 24 | G 2,5“ | 1,6 | 1,33 |
| 449 000 1039 | 75** | 125 | 88 | 64 | 42 | 24 | G 2,5“ | 1,6 | 1,20 |
| 449 811 1041 | 75 | 125 | 88 | 64,5 | 37 | 20 | G 3“ | 1,6 | 0,38 |
| 449 000 1014 | 110 | 182 | 133 | 100 | 46 | 27 | G 4“ | 0,8 | 1,00 |
| 449 000 1028 | 110 | 182 | 133 | 100 | 46 | 27 | G 4,5“ | 0,8 | 1,00 |
| 449 000 1029 | 125 | 195 | 148 | 115 | 52 | 27 | G 5“ | 1,6 | 1,40 |