Produktový katalog
- Čerpadla motorová plovoucí, čerpadla ruční
- Ejektory,sací koše
- Hasící látky
- Hasící přístroje
- Hydranty
- Kanálový krtek
- Kužely, ruchloucpávky, kanystry
- Ochranné rukavice
- Obuv staniční, vycházková
- Požární hadice a příslušenství
- Osvětlovací stožáry
- Proudnice,klíče,přechody,spojky,víčka
- Přilby,kukly
- Přiměšovače
- Požární sport
- Rozdělovače
- Sběrače
- Skříňky s nástroji a elektronástroji
- Slavnostní a vycházkové uniformy HZS i SDH
- Svítilny s nabíječi i bez
- Turboventilátory, elektroventilátory
- Vesty
- Vlečné tyče
- Vyprošťovací a záchranná technika
- Vodní štít
- Zásahový protipožární oblek
- Žebříky,trhací háky
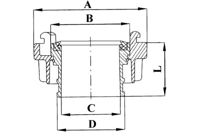
Spojky hadicové
Kategorie:
Proudnice,klíče,přechody,spojky,víčka > Spojky > Spojky hadicové
Popis:
hadicové spojky jsou rychlospojovací armatury, které se používají k zakončení požárních hadic a jejich připojení k požárnímu příslušenství, případně k požárním čerpadlům.
Materiál
hliníková slitina.
| Objednací číslo | Typ | A [mm] |
B [mm] |
C [mm] |
D [mm] |
L [mm] |
Max. prac. tlak [MPa] |
Hmotnost [kg] |
| 449 811 1015 | 25 | 54 | 30,5 | 17,5 | 29,5 | 48 | 0,8 | 0,15 |
| 449 000 1024 | 42 | 64 | 45 | 36 | 42 | 55 | 1,6 | 0,20 |
| 449 811 1030 | 52 | 97 | 65 | 44,8 | 51,5 | 52 | 1,6 | 0,50 |
| 449 000 1025 | 65 | 87 | 65 | 57 | 65 | 57 | 1,6 | 0,32 |
| 449 811 1031 | 75 | 125 | 88 | 64,5 | 75,5 | 124 | 1,6 | 0,80 |
| 449 000 1007 | 110 | 182 | 133 | 100 | 110,5 | 103 | 0,8 | 2,55 |