Produktový katalog
- Čerpadla motorová plovoucí, čerpadla ruční
- Ejektory,sací koše
- Hasící látky
- Hasící přístroje
- Hydranty
- Kanálový krtek
- Kužely, ruchloucpávky, kanystry
- Ochranné rukavice
- Obuv staniční, vycházková
- Požární hadice a příslušenství
- Osvětlovací stožáry
- Proudnice,klíče,přechody,spojky,víčka
- Přilby,kukly
- Přiměšovače
- Požární sport
- Rozdělovače
- Sběrače
- Skříňky s nástroji a elektronástroji
- Slavnostní a vycházkové uniformy HZS i SDH
- Svítilny s nabíječi i bez
- Turboventilátory, elektroventilátory
- Vesty
- Vlečné tyče
- Vyprošťovací a záchranná technika
- Vodní štít
- Zásahový protipožární oblek
- Žebříky,trhací háky
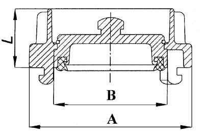
Spojky hadicové sací
Kategorie:
Proudnice,klíče,přechody,spojky,víčka > Spojky > Spojky hadicové sací
Popis:
savicové spojky jsou rychlospojovací armatury, které se používají při spojování savicového požárního vedení. Pláště odpovídají plášťům hadicových spojek, hrdla jsou delší.
Materiál
hliníková slitina. položky označené * jsou vyrobeny z mosazi.
| Objednací číslo | Typ | A [mm] |
B [mm] |
C [mm] |
D [mm] |
L [mm] |
Max. prac. tlak [MPa] |
Hmotnost [kg] |
| 449 05371 007 | 52 | 97 | 65 | 45,2 | 51,5 | 90 | 1,6 | 0,75 |
| 449 000 1019 | 52 * | 97 | 65 | 45,2 | 51,5 | 90 | 1,6 | 4,20 |
| 449 811 1050 | 75 | 125 | 88 | 65,6 | 74,5 | 120 | 1,6 | 1,38 |
| 449 000 1004 | 110 | 182 | 133 | 96 | 110,5 | 170 | 0,8 | 3,08 |