Produktový katalog
- Čerpadla motorová plovoucí, čerpadla ruční
- Ejektory,sací koše
- Hasící látky
- Hasící přístroje
- Hydranty
- Kanálový krtek
- Kužely, ruchloucpávky, kanystry
- Ochranné rukavice
- Obuv staniční, vycházková
- Požární hadice a příslušenství
- Osvětlovací stožáry
- Proudnice,klíče,přechody,spojky,víčka
- Přilby,kukly
- Přiměšovače
- Požární sport
- Rozdělovače
- Sběrače
- Skříňky s nástroji a elektronástroji
- Slavnostní a vycházkové uniformy HZS i SDH
- Svítilny s nabíječi i bez
- Turboventilátory, elektroventilátory
- Vesty
- Vlečné tyče
- Vyprošťovací a záchranná technika
- Vodní štít
- Zásahový protipožární oblek
- Žebříky,trhací háky
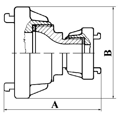
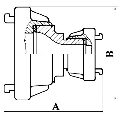
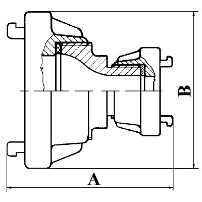
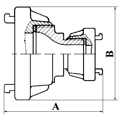
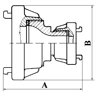
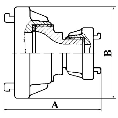
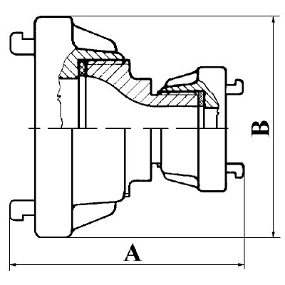
Přechod (3)
Kategorie:
Proudnice,klíče,přechody,spojky,víčka > Přechody > Přechod (3)
Určení
redukční armatura do potrubních a hadicových rozvodů.
Materiál
hliníková slitina.
| Objednací číslo | Typ | A [mm] |
B [mm] |
Max. prac. tlak [MPa] |
Hmotnost [kg] |
| 07824 003 A | 52/25 | 110 | 98 | 12 | 0,40 |