Produktový katalog
- Čerpadla motorová plovoucí, čerpadla ruční
- Ejektory,sací koše
- Hasící látky
- Hasící přístroje
- Hydranty
- Kanálový krtek
- Kužely, ruchloucpávky, kanystry
- Ochranné rukavice
- Obuv staniční, vycházková
- Požární hadice a příslušenství
- Osvětlovací stožáry
- Proudnice,klíče,přechody,spojky,víčka
- Přilby,kukly
- Přiměšovače
- Požární sport
- Rozdělovače
- Sběrače
- Skříňky s nástroji a elektronástroji
- Slavnostní a vycházkové uniformy HZS i SDH
- Svítilny s nabíječi i bez
- Turboventilátory, elektroventilátory
- Vesty
- Vlečné tyče
- Vyprošťovací a záchranná technika
- Vodní štít
- Zásahový protipožární oblek
- Žebříky,trhací háky
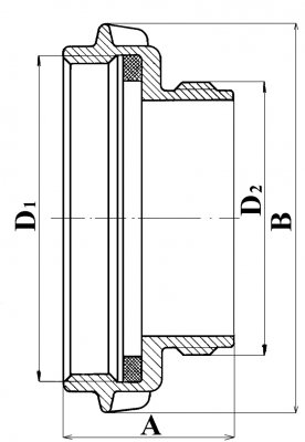
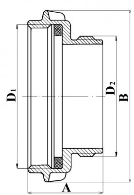
Přechod (2)
Kategorie:
Proudnice,klíče,přechody,spojky,víčka > Přechody > Přechod (2)
Určení
redukční armatura do potrubních a hadicových rozvodů.
Materiál
hliníková slitina.
| Objednací číslo | Typ | D1 [mm] |
D2 [mm] |
L [mm] |
Hmotnost [kg] |
| 449 000 1001 | 125/110 | 180 | 195 | 110 | 2,90 |