Produktový katalog
- Čerpadla motorová plovoucí, čerpadla ruční
- Ejektory,sací koše
- Hasící látky
- Hasící přístroje
- Hydranty
- Kanálový krtek
- Kužely, ruchloucpávky, kanystry
- Ochranné rukavice
- Obuv staniční, vycházková
- Požární hadice a příslušenství
- Osvětlovací stožáry
- Proudnice,klíče,přechody,spojky,víčka
- Přilby,kukly
- Přiměšovače
- Požární sport
- Rozdělovače
- Sběrače
- Skříňky s nástroji a elektronástroji
- Slavnostní a vycházkové uniformy HZS i SDH
- Svítilny s nabíječi i bez
- Turboventilátory, elektroventilátory
- Vesty
- Vlečné tyče
- Vyprošťovací a záchranná technika
- Vodní štít
- Zásahový protipožární oblek
- Žebříky,trhací háky
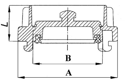
Víčka
Kategorie:
Proudnice,klíče,přechody,spojky,víčka > Víčka > Víčka
Popis:
víčka jsou armatury uzavírající a kryjící odtokové, přítokové a sací otvory v době, kdy nejsou používány.
Materiál
hliníková slitina. položky označené * jsou vyrobeny z mosazi, položky označené ** jsou vyrobeny z nerezu.
Objednací číslo | Typ | A [mm] |
B [mm] |
L [mm] |
Hmotnost [kg] |
449 811 1007 | 25 | 55 | 31 | 28 | 0,11 |
449 811 1008 | 52 | 98 | 66 | 36 | 0,33 |
449 811 1010 | 52 * | 95 | 66 | 36 | 0,80 |
449 811 1045 | 52 ** | 95 | 66 | 36 | 0,76 |
449 811 1006 | 75 | 125 | 89 | 40 | 0,53 |
449 810 0003 | 75 * | 125 | 89 | 40 | 1,45 |
449 810 0007 | 75 ** | 125 | 89 | 40 | 1,25 |
449 810 0001 | 110 | 182 | 133 | 46 | 1,25 |
449 810 0002 | 125 | 195 | 147 | 53 | 1,60 |
